СІЛЬСЬКОГОСПОДАРСЬКІ МАШИНИ

Електронний підручник

Головна

Теоретичні відомості

Лабораторні та практичні роботи

Тести

Список використаних джерел

Автори

 Звіт

 

ПРАКТИЧНЕ ЗАНЯТТЯ 4

Практичне вивчення будови, технологічного процесу роботи та основних

регулювань зернової та овочевої сівалки

Мета. Поглибити теоретичні знання з будови сівалок, формувати вміння та навички практичної діяльності.

Матеріали та обладнання: сівалки________________________________________________ набір інструментів, заводські інструкції, інструкційна картка, домкрат, набір регулювальних підкладок.

 

1. Заповнити таблицю 4:

Таблиця 4

Технічна характеристика сівалок

Марка

сівалки

Ширина

захвату,

м

Глибина

посіву,

см

Робоча

швидкість,

км/год

Продуктивність,

га/год

Необхідна

потужність

трактора, кВт

 

 

 

 

 

 

 

 

 

 

 

 

 

 

 

 

 

 

 

 

 

 

 

 

 

 

 

 

 

 

 

2. Описати призначення, будову і регулювання котушкового висівного апарата.

__________________________________________________________________________________

__________________________________________________________________________________

__________________________________________________________________________________

__________________________________________________________________________________

___________________________________________________________________________________

3. Дати специфікацію висівного апарата сівалки ____________(рис. 4.1)

1 -

2 -

3 -

4 -

5 -

6 -

7 -

8 -

9 -

10 -

Рис. 4.1. Схема висівного апарата сівалки ____________

 

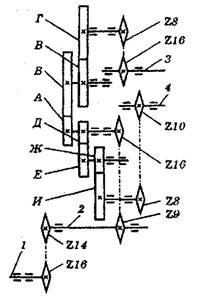
4. Описати призначення шестерень передавального механізму приводу зернової сівалки _______ (рис. 4.2)

 

              А, Б, В, Г -

 

              Д, Е, Ж, И -

 

 

 

 

 

Рис. 4.2. Схема передавального механізму зернової рядкової сівалки ____________

 

Контрольні запитання

1.    Яка будова і робота механізму піднімання сошників?

2.    Як регулюють сівалки на норму висіву насіння?

3.    Яка послідовність регулювання сівалки на глибину посіву?

4.    Як перевірити норму висіву насіння в полі?

5.    Яка будова сошників овочевої сівалки?

6.    Як виконується розставлення сошників овочевої сівалки?

 

 

Оцінка _____________

___________________________

 

(підпис викладача)

       ______________________

                                                (дата)

 

 

 

Попередня практична

На початок

Наступна практична

© 2018 ДУ «Науково-методичний центр інформаційно-аналітичного забезпечення діяльності ВНЗ «Агроосвіта»

03151, м. Київ, вул. Смілянська, 11